Gray-armen bij het NIR
De arm van een platenspeler bestaat uit een lichte en trillingsarme buis met aan het ene uiteinde het pick-upelement, aan het andere een horizontale en een verticale as met zo weinig mogelijk wrijving. Dan is er nog een tegengewicht om de zaak in balans te houden, een regeling voor de naaldkracht en eventueel anti-skating. Elke fabrikant heeft dit principe op zijn eigen manier uitgewerkt. Als je zelf eventueel een arm wil ontwerpen kan je bijvoorbeeld hier http://www.schiller-phono.de/de/tonarm-diy terecht.
Op de vooroorlogse NIR-spelers stond zo’n conventionele arm. Op zijn uiteinde het pick-upelement - je moest er voor elke plaat een nieuwe naald in steken – en achteraan een solide tegengewicht. Naalddruk wellicht zo’n 25 gram….

De armen op de vooroorlogse Neumann-platenspelers uit onze collectie zien er helemaal anders uit:

Rond een verticale as 1 draait een vork of gaffel 2. Op het einde van die vork vinden we de eigenlijk arm 3, hij vormt een soort balans die op zijn beurt draait rond een horizontale as 4. Aan het ene uiteinde zit het element (of de “kop”). De naaldkracht wordt geregeld door een wieltje aan de andere kant van de balans waarmee men een tegengewicht kan verschuiven langs een schaal 5.

Naast die schaal vinden we het merk. Ja, het is een Gray-arm! Gray, nooit van gehoord, zegt u? Niet te verwonderen, het merk is al enige tijd verdwenen, maar indertijd had het een uitstekende reputatie.
In deze eerste advertentie in het tijdschrift Audio Engineering van juli 1947 heette hij nog de Gray Professional Transcription arm zonder meer. Later wordt hij bekend als de Gray 103. De term Transcription Arm wijst er op dat hij extra lang is, en dus bruikbaar voor de grote lakplaten van de omroepen.

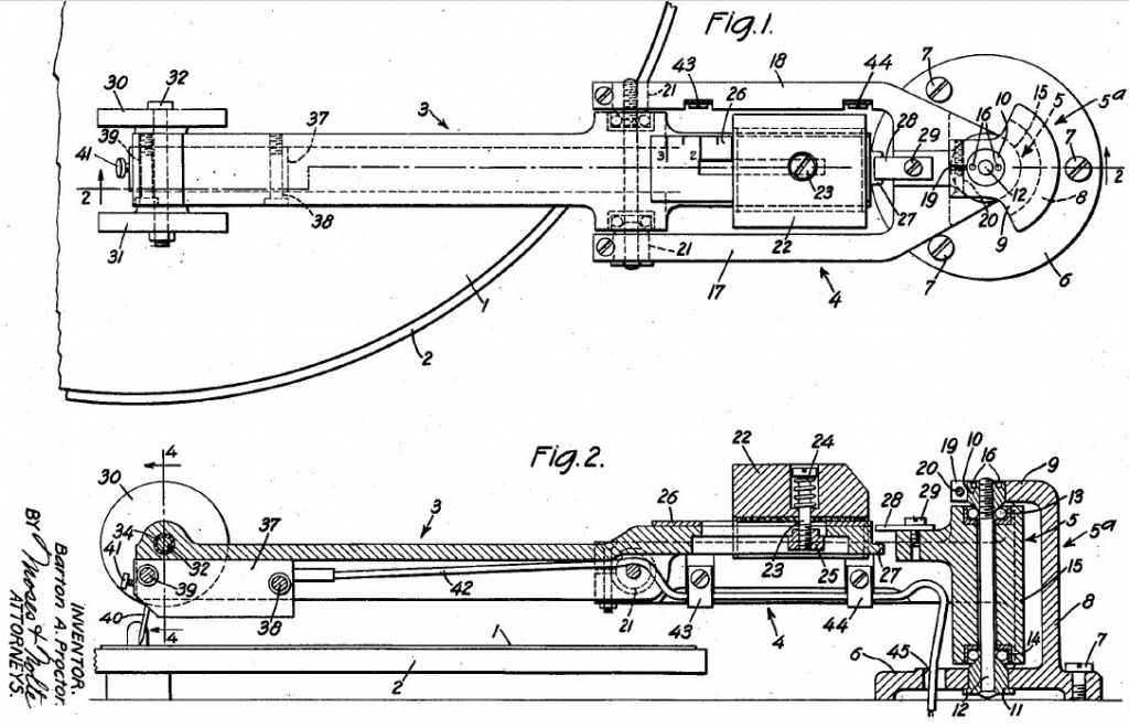
Meer detail vinden we, zoals zo dikwijls, door het octrooi op te zoeken. Dat is vlug gevonden : onderaan een van de armen staat het nummer 2.060.117 van 10 november 1936. Het octrooi staat niet op naam van Gray, wel van een zekere B. A. (Barton A.) Proctor.

Op de octrooitekening zien we duidelijk dat de verticale as (12) conische uiteinden (11, 16) heeft waarop kogellagertjes (13, 14) lopen voor een minimale wrijving. Idem voor de horizontale as. Het tegengewicht is hier een metalen blokje dat met een bout en een veer op de arm bevestigd is; dank zij de veer kan het toch nog verschoven worden. Bij de Gray-arm zit het blokje onderaan. Blijkbaar had de firma Fairchild ook een licentie : hun versie van de arm stemt erg overeen met de tekening.

Merkwaardig zijn de twee schijven 30 en 31 vlak bij de toonkop. Ze zijn verend verbonden met de arm. Waartoe dienen ze? Wel een van de problemen bij een pick-uparm is de resonantie veroorzaakt door de equivalente massa van de arm en de veerkrachtige ophanging van de naald. Die resonantiefrequentie ligt liefst rond 10 Hz. Door de twee schijven meer of minder met de arm vast te koppelen, kan men de resonantiefrequentie wijzigen.
Meer weten over de resonatie van toonarmen?
Zie http://www.laudioexperience.fr/wp-content/uploads/2017/04/Bruel-Kjaer-Audible-Effects-of-Mechanical-Resonances-in-Turntables-AN17-233-1977-1.pdf
De Gray-arm heeft deze twee schijven niet. Met de toen moderne lichtgewicht-toonkoppen was dat wellicht niet meer nodig; volgens de advertenties is de Gray-arm gemaakt van magnesium, dat metaal is nog een derde lichter dan aluminium.
Daarmee is het verhaal van de Gray-armen verteld. Of toch niet? Als we naar een “gewone” Gray-arm kijken,

en hem vergelijken met de armen op de Neumann-spelers,

dan zijn er zichtbare én minder zichtbare verschillen.
- Er gaapt een groot gat in “onze” arm. Zou het de bedoeling zijn om hiermee de massa van de arm te verlagen? Hij is toch van het ultra-lichte magnesium? En aan de andere kant van de balans zit een koperen gewicht van zo’n 100 gram! Magnesium is duur, is het om de prijs te drukken? Is het een kijkopening? Om wat te zien? En is het enkel bij de NIR-arm aanwezig of zijn er elders nog andere armen met zo’n opening?
Op dit youtube-screenshot zien we een arm met nog meer gaten …. (het volledige fimpje)
- Achteraan aan het onbeweeglijk gedeelte is een beugel met regelschroefjes aangebracht die dienst doen als eindstop. Dat lijkt een goed idee, maar eens te meer, mogelijk uniek.

- Sinds jaar en dag zijn consumerspelers uitgerust met een armlift, liefst met hydraulische demping. Hierdoor kan men de toonkop zachtjes op de plaat doen neerkomen. Ook de vooroorlogse Neumann-platenspelers hadden zo’n lift. Op de foto ziet men de hendel, gemerkt met “PICK-UP”.

De meeste andere studiospelers hadden dat toen blijkbaar niet.
Het NIR wou met de nieuwe Gray-arm die armlift behouden, maar er was een probleempje : hij moest inwerken op de “verkeerde” kant van de balans, namelijk het gedeelte dat naar beneden kantelt als de naald naar boven gaat.

In plaats van de arm naar boven te duwen moet de armlift hem dus naar beneden trekken! De standaard Gray-arm is daar niet op voorzien, maar de NIR-uitvoering wel! De bovenkant van de lift heeft de vorm van een wassende maan en loopt met een boogje langs de draaitafel. Onderaan de arm is een soort haakje bevestigd met een voetje dat onder die “maan” loopt, en de arm naar beneden trekt en de naald naar boven.
Toppunt van ergonomie : als je liever de naald uit de losse pols liet zakken kon je het haakje opklappen, een veertje hield het dan uit de weg.
NB op de foto : het blokje rechtsboven van de haak is het koperen tegengewicht.
Maar het merkwaardigste verschil van “onze” armen met de gewone uivoering is aan de buitenkant niet zichtbaar.
De Rolls Royce van de studiospelers, de EMT927, had een “Rillenanzeiger” of “track position indicator”, dat is een uitlezing van de positie van de naald op de plaat met een lichtstreep op een schaal vooraan de speler. Het doet wat denken aan een spiegelgalvanometer. Handig als men een passage moest terugvinden.
Kijken we even onder het bovenvlak van zo’n speler om te zien hoe het er in de praktijk aan toe gaat. Links op de foto zien we een zwarte doos met de lamp en een tubus met daarin het lenzenstelsel. Die combinatie projecteert een heldere streep op het draaibare spiegeltje rechts. Dit laatste is op een onduidelijke manier verbonden met de as van de platenarm.

Op de tweede foto zien we onderaan nog een glimp van de in dit geval wat stoffige vaste spiegel. Die projecteert de lichtstraal van de beweegbare spiegel op de schaal die op het bovenvlak is aangebracht.

De Neumannspelers waren er oorspronkelijk ook mee uitgerust! Boven de hendel van de armlift zien we de schaal met erboven een lichtscherm.

We weten (nog) niet hoe het er onder de grondplaat origineel uitzag. Ongetwijfeld zat er hier ook een spiegeltje op de as en ergens een lamp met lenzenstelsel.
Die positie-indicator kon men bij het NIR blijkbaar niet missen, maar de as van de Gray-arm loopt natuurlijk niet door onder de

grondplaat. Eens te meer is dat probleem opgelost : de voet van de arm (excuses voor de anatomische tegenspraak) is met wat goede wil hartvormig. Links op de installatieschets is er een ruimte voor een doorgang naar de onderzijde van de grondplaat. Gewoonlijk wordt ze gebruikt voor de doorvoer van de signaaldraad.
Hier (zie de foto) zien we een gebogen sleuf waardoor een stangetje passeert dat door een stevige vernikkelde beugel met de as verbonden is. Om te zien wat er verder gebeurt, moeten we binnenin onder de grondplaat gaan kijken.


Links zien we nog net een deel van de koker waarin de draaitafelas loopt. Een stevige kabel voert naar een lamphouder rechts ervan. Om hiervoor plaats te maken heeft men uit de steunribben op een wat primitieve manier een stuk verwijderd, dat lijkt geen fabrieksingreep… In het verlengde van de lamphouder zien we het lenzenstelsel. De blinkende verticale staaf is bediening van de armlift. Daaronder op de foto een connector die het signaal dat van de toonkop komt -de dunne draad- verbindt met de elektronica onderin het meubel. Rechts daarvan zien we het spiegeltje met nog net het stangetje dat naar boven loopt. Achter het spiegeltje een regelschroef. De functie van de veer rechts bovenaan is niet duidelijk, evenmin als de originele situatie.
Maar hiermee houdt het niet op :
Na de oorlog zendt het NIR niet enkel uit vanaf de Flageystudio’s. De regionale omroepen zien het licht, ze zijn de opvolgers van de vroegere privézenders. Die studio’s worden minstens gedeeltelijk uitgerust met Amerikaans materiaal: mengtafels van Western Electric, platenspelers van Presto. Liefst ook met armlift en Rillenanzeiger, wat de originele spelers niet hebben.
Een armlift inbouwen in een Presto 64 lukt nog wel, een uitlezing voor de naaldpositie is andere koek. De oplossing : ze inbouwen in de arm zelf. Wie op het idee gekomen is weten we niet, maar het resultaat is een van de meest eigenaardige pick-uparmen ter wereld. Hij ziet er zo uit : bovenop de as bevindt zich een bouwsel met vooraan een schermpje.

Op dat schermpje kunnen we, als er niet te veel omgevingslicht is, de positie van de arm aflezen. Dat ziet er zo uit :

Als we de “motorkap” verwijderen kunnen we een blik werpen op het inwendige.

Links zien we een lampje (6 V 10 W) dat via een condensorlens licht werpt op een film met een schaalverdeling. Dit filmpje zit gevat tussen twee glazen plaatjes in de vorm van een cirkelboog die rond een as draait. Het geheel is verbonden met de toonarm. Dit zijn de enige bewegende delen van de constructie. De aflezing van de positie op de schaal wordt door een lenzenstelsel geprojecteerd op het matglas rechts. Dus, bij de andere spelers wordt een streepje geprojecteerd op een schaal, hier een schaal op een streepje!
Op de volgende foto zien we hoe het geheel bevestigd is aan het vaste gedeelte van de arm, samen met de eindekoersregeling die we al kennen. Bemerk ook het lichte kleurverschil tussen de eigenlijke arm en de uitleeseenheid.

Bekijken we het objectief wat aandachtiger :

Het merk is … OIP Gand. OIP, "Optique et Instruments de Précision", is een Belgische bedrijf dat in 1919 in Gent ontstaan is. Het bouwt optische precisie-instrumenten, onder meer voor militaire toepassingen. Het is nu gevestigd in Oudenaarde.
Bij dat alles rijst de vraag of dit wel een eigen Gray-product is. Op internet hebben we nog geen tweede exemplaar gevonden. Er is

een licht kleurverschil tussen dit opzetstuk en de rest van de Gray-arm. De projectielens is van OIP, terwijl er in de VS toch ook wel lenzenfabrikanten zijn. Op de behuizing is er geen sprake van Gray, wel van n.v. G. Mees, Belgium, met een logo dat verwijst naar 16 mm geluidsfilm.
Is die Mees misschien de bouwer, of enkel de invoerder? Op een Franse tweedehandssite vonden we te koop : G. MEES Projecteur film en métal laqué gris. En op tweedehands.be eentje voor een 15 mm projector (op een mm komt het niet aan) met volgend kenplaatje :

Het plaatje oogt recenter dan de projector zelf, maar veel wijzer worden we er niet door. Kan er iemand meer licht werpen in de duisternis? Alle bijkomende gegevens zijn welkom.
Wie weet meer over de firma Mees? Waar was ze gevestigd? In welke periode? Wat waren haar activiteiten? Ons adres :
Anderzijds moeten we ook wel zeggen dat in de advertentie van Gray aan het
begin van ons artikel sprake is van een “dial groove indicator”. Hebben we het hier toch te maken met een Gray-product?
Conclusie : Al bij al vertonen “onze” Gray-armen belangrijke aanpassingen. Het zou interessant zijn te weten of die ook bij andere klanten uitgevoerd zijn. Of zijn we toch in het bezit van unieke stukken? En zijn de wijzigingen van Belgische oorsprong? Hopelijk later hierop antwoorden.
___________________________