Geweermicrofoon Electro-Voice
15 juli 1960, de democratische conventie. John F. Kennedy spreekt zijn "acceptance speech" uit als kersvers presidentskandidaat voor de democratische partij. Hij is net 43 jaar, een heel verschil met de twee "oudjes" die in 2016 door hun partij op het schild geheven worden, de latere president Trump die 70 jaar was, Hillary Clinton net 69. Maar onze belangstelling gaat niet zozeer uit naar de kandidaat dan wel naar de twee eigenaardige microfoons die zo prominent in beeld komen. Het zijn nieuwe microfoons van Electro-Voice, model 642. Men spreekt over geweermicrofoons - wat in het licht van het levenseinde van Kennedy wat macaber kan zijn - of richtmicrofoons. Door hun speciale vorm en inwendige constructie zijn ze erg gevoelig voor geluid dat in de aslijn binnenvalt, maar veel minder voor geluiden uit andere richtingen.
Door deze eigenschap zijn geweermicrofoons momenteel zeer populair voor opnames waarbij de microfoon verder van de geluidsbron verwijderd is, of bij buitenopnames. Bij consumerapparatuur vinden we tegenwoordig veel korte "geweertjes". Verderop bespreken we het werkingsprincipe. Dan wordt het duidelijk dat de "geweerloop" een zekere lengte moet heben om echt effectief te zijn.
Bekijken we het exemplaar in onze collectie wat van naderbij. Het zit in een soliede stalen draagkoffer, koffer en microfoon zien er uit als nieuw, de microfoon zal dus niet veel gebruikt zijn. We beschikken jammer genoeg niet over de elastische ophanging die nodig is om de microfoon echt te kunnen gebruiken.

Ter hoogte van het linker slotje van de koffer bevinden zich in het huis van de microfoon twee schakelaartjes. Met een schroevendraaiertje kan men kiezen tussen drie uitgangsimpedanties en drie frequentiekrommen. Die laatste vindt men in het deksel :

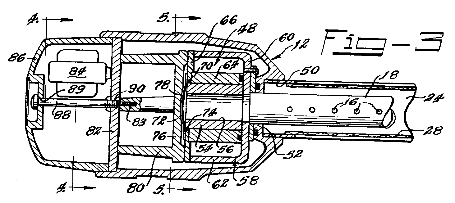
Hoe werkt nu zo’n microfoon? Wat is de functie van die lange buis en van de "pot" aan de linkerkant? We gaan te rade bij het octrooi nr. 3.095.484:

Blijkt dat de buis een tweede buis verbergt. De buitenste (10) heeft geen akoestische eigenschappen maar dient hier ter bescherming van de binnenste (18), vandaar de grote sleuven (28). Er zit ook wat absorberend materiaal in. In de tweede buis zijn er op regelmatige afstanden gaatjes (16). Links, in de dikke “pot” (12), bevindt zich de eigenlijke microfoon.

Het is een dynamische microfoon, het membraan is nummer 78.
Het geluid dringt in de binnenste buis binnen door de gaatjes. Als men recht naar de geluidsbron mikt, leggen de golven door de verschillende gaatjes allemaal dezelfde afstand af en komen ze in fase toe: ze versterken mekaar. Maar wanneer ze uit een schuine richting komen dan is de afgelegde weg telkens verschillend, en zal de ene golf nu eens de andere versterken, dan weer verzwakken. De microfoon is voor die richtingen dus minder gevoelig. In de tekening: de schuine golven hebben dezelfde fase – of het zou zo toch moeten – maar aan de microcapsule links op de tekening komen ze in verspreide gelederen toe. Men noemt dat het interferentieprincipe.
Dat effect is meer uitgesproken voor de hogere frequenties, want dan is de buis veel langer dan de golflengte.
Wanneer de buis even lang is als de halve golflengte dan is de richtwerking zo goed als verdwenen, er zijn dan immers bijna geen faseverschillen.
Om voor de lage frequenties toch een richteffect te hebben is de microfoon uitgevoerd als een drukverschilmicrofoon (cardioïde- hypercardioïde).
Op de volgende foto zien we linksonder een langwerpig goudkleurig plaatje met kleine gaatjes. Langs die weg bereikt het geluid de achterkant van het membraan.

Dat geeft een groot verschil met een richtmicrofoon die wat vroeger op de markt gekomen was : de Sennheiser MD82, waarvan het gevoelig element erg lijkt op de MD21, de bekende rondomgevoelige micro van hetzelfde merk. De BBC heeft een vergelijking gemaakt tussen de EV 642 – waarvan de buis 30 cm lang is – en de Sennheiser MD82 met en buis van een meter. (BBC Research Department Report no. L-052, 1964/41)

De MD82 is zeer (té?) richtinggevoelig voor hoge frequenties, maar rondomgevoelig voor de lage. Bij de Electro Voice verloopt dat veel gelijkmatiger. Daarom was hij de betere microfoon
Onze collectie bevat ook een MD82, we hopen beide ooit te kunnen vergelijken. Dan hebben we wel een connectorprobleem : op het eerste gezicht heeft de microfoon een XLR-connector, de facto de standaard in audio. Maar hij is van het type Cannon UA : niet rond maar D-vormig. Bijna, maar niet helemaal hetzelfde ….

Tussen haakjes, al voor de tweede wereldoorlog leefde de idee om van het interferentieprincipe gebruik te maken. De bekende elektro-akoesticus Harry Olson heeft toen al microfoons geöctrooieerd, weliswaar niet met één, maar met vele buizen van verschillende lengte. Schrik niet van de tekeningen uit zijn octrooi :

En voor wie meent dat lengte belangrijk is - en in dit geval is dat zo - hebben we als uitsmijter een foto van zijn broertje, de EV 643. Meer dan twee meter lang en om duidelijke redenen ook gekend als de bazookamicrofoon. (C) : RR

____________________________________________________