Fernsehcamera KOA
De ouderen weten het nog : op 15 december 1960 greep het koninklijk huwelijk van Boudewijn en Fabiola plaats. We zien een volgepakte troonzaal in het paleis van Brussel bij de burgerlijke plechtigheid.
Geen lachende gezichten, eerder strenge, ja sombere blikken alom. De fine fleur van de Europese adel is zich blijkbaar bewust van de ernst van de gebeurtenis (klik desgewenst op de foto voor meer detail). Ze zijn niet de enige getuigen van het ja-woord : dank zij Eurovisie konden miljoenen kijkers in Europa de plechtigheid live volgen. De rechtstreekse uitzending van een koninklijk huwelijk was een gebeurtenis die niemand mocht missen. Veel huisvaders kochten toen een eerste tv-toestel als laattijdig sinterklaasgeschenk of vroeg kerstcadeau voor vrouw en kroost – en een beetje voor zichzelf natuurlijk.
De camera die voor de beelden zorgt is in deze foto prominent aanwezig, op een eerbiedige afstand tussen prins Albert en groothertog Jan van Luxemburg. Een paar jaar tevoren had het NIR-INR reportagewagens gekocht die uitgerust waren met deze camera’s, een fabrikaat van de Duitse leverancier Fernseh GmbH. (Over dit bedrijf leest u meer in een apart artikel.) Ze zien er wat saai-grijs uit, maar ze vertonen her en der wel eigenzinnige oplossingen.
Op de foto hiernaast zien we een van de camera’s van dichterbij. Vooraan een lenstrommel met plaats voor vier lenzen en een diascoop voor de afregeling. Zoomlenzen waren toen nog zeer duur en van minder goede kwaliteit. De cameraman kadreert op de elektronische beeldzoeker en stelt scherp met de rechterhand. De aansluiting voor de camerakabel bevindt zich aan de onderzijde, niet zo’n goed idee als men de camera op een tafel of zo wil plaatsen.
Maar wat we zien is niet de volledige cameraketen. Die vinden we op
een foto in een fabrieksbrochure. Een deel van de beeldverwerking gebeurt in het toestel linksonder: de camera control unit, CCU in het jargon.
In de koffer daarboven zit de monitoringapparatuur: bovenaan een tv-scherm, daaronder het ronde oscilloscoopscherm. De camerakop is met 41x330x55 cm als afmetingen en een gewicht van 50 kg nog compacter dan de PYE Mk III (waarover meer hier).
De volledige camera heet KOA (K : kamera, O : beeldorthicon (het type opneembuis), A : typevolgnummer, de vorige modellen hadden een ander type opneembuis). De camerakop zelf heet KKO 100.
Een van de “koninklijke” camera’s heeft het overleefd en bevindt zich in onze collectie. Hij ziet er wat minder nieuw uit en hij heeft ook nog maar onlangs drie lenzen teruggekregen. Het signalisatielampje bovenaan is wellicht voor altijd verloren ….

Vooraan zien we de lenstrommel. Met het hendeltje links achteraan kiest de cameraman de gepaste beeldhoek, dus de lens. Met de gekartelde knop daaronder stelt hij (er stonden toen nog geen "zij's" achter de camera) scherp. In dat opzicht lijkt het toestel op de meeste andere zwartwitcamera’s. Iets anders maakt hem héél speciaal.
De lichtregeling met een vloeistof.
In elke camera moet men de hoeveelheid licht die op het gevoelige element valt kunnen regelen. Normaal zorgt het diafragma daarvoor. Bij een camera met meerdere lenzen moeten die objectieven allemaal evenveel licht doorlaten, ze moeten hetzelfde diafragmagetal (of eigenlijk T-stop) hebben. De diafragma’s zijn dan
gekoppeld. De “corrector”, de persoon aan de CCU, kan die met een motorbediening van op afstand wijzigen. Hier niet : de hoeveelheid licht wordt gewijzigd door …. de dikte van een grijze vloeistoflaag te veranderen!
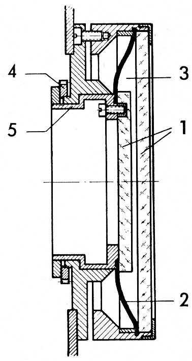
Tussen de lenstrommel en het beeldorthicon bevindt zich een lichtfilter, zie de tekening rechts. Het geheel bestaat uit twee planparallelle platen 1 waartussen zich een grijze vloeistof 3 bevindt. Door middel van een motor (niet op de tekening) en het mechanisme 4, 5 kan de linker glasplaat bewegen. De afstand tussen de platen - en dus de lichtdoorlaatbaarheid van de vloeistof ertussen - verandert. Volgens de fabrikant tot een factor 1000:1 !
Links een demonstratieopstelling : linksonder de lichtregelaar, rechts de langwerpige motor en de overbrenging. Het tandwiel linksboven drijft de uitlezing van de verzwakking aan. Op de CCU kan men dus de filter bedienen en ook zijn stand aflezen.
Over de kwaliteit van deze oplossing kunnen we niet veel vertellen. Volgens bronnen die het kunnen weten bestond de vloeistof uit olie met zeer fijne roetdeeltjes. Als dat klopt, moest er toch wat verstrooiing optreden? Feit is dat Fernseh voor zijn ultieme zwartwitcamera overgeschakeld is naar een centraal gestuurde diafragmaregeling zoals iedereen. Bij meer licht sluit dan het diafragma en wordt de scherptediepte en de algemene beeldkwaliteit beter. Hier wordt het licht gewoon verzwakt en treedt er geen verbetering op.
Nog een vaststelling : als de cameraman scherp stelt, dan verschuift hij de opnamebuis naar voor of achter (zie onder meer het artikel over de PYE MK III). Maar bij deze camera hier beweegt tegelijk de lenstrommel in tegenovergestelde richting! Is de plaats van de lichtfilter misschien kritisch, of is er een andere reden? Een vraagteken. We zien op de foto's hierboven en hieronder dat er een brede rand rond de lenstrommel zit. Dat is om te beletten dat er strooilicht zou binnen dringen als de lenstrommel naar voor beweegt.

________________________